平成13年春初級シスアド午後ネットワーク関連問題


平成13年度春期試験 問題(午後問3)

--------------------------------------------------------------------------------
 
問3 ネットワーク運用管理に関する次の記述を読んで,設問1〜3に答えよ。
 
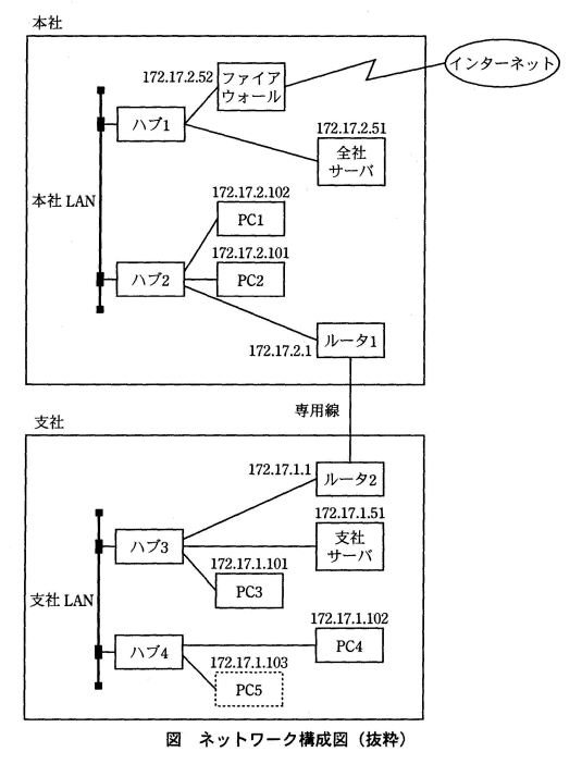
 H社の本社と支社のネットワークは,図に示す構成になっている。 H社の各PCのIPアドレスなどは,これまで情報システム部によって設定されていたが,今後は各部門で行うことになった。手始めとして,新規購入したPC5の設定をZ君が行うことになった。
 



 
 Z君は,情報システム部から,PC5の設定に関して次のような電子メールを受け取っている。
 
〔Z君の受け取った電子メール〕
表題:新規PCの設定
 IPアドレスは,172.17.1.103を使用してください。また,サブネットマスクには255.255.255.0を,デフォルトゲートウェイ(本社との接続用ルータ)には172.17.1.1を設定してください。PCの設定を行った後,PINGコマンドを利用して,ネットワークの接続確認を行ってください。
 PINGコマンドは,コマンド入力行から,“PING IPアドレス”と入力することによって,指定したIPアドレスとのネットワーク接続を確認することができます。接続が成功した場合には,“Reply from IPアドレス”,失敗した場合には,“Time out”と表示されます。既に送付済みのネットワーク構成図を参考にして,各サーバヘの接続確認を行ってください。
 PCを追加する際に,上記の設定を間違えると,追加したPCに問題が起きるだけでなく,その内容によっては,ネットワーク全体に問題が起きる可能性があります。PCの設定に際しては十分に注意してください。
 

 
設問1 IPアドレスに関する次の記述中の[  ]に入れる適切な字句を,解答
群の中から選べ。
 
 H社で使用しているIPアドレスは,クラスBである。クラスBでは,先頭から[ a ]ビットがネットワーク部,残り16ビットがホスト部である。
 H社では,ネットワークのアドレスを本社,支社などの複数のネットワークに分割するために,サブネットマスクを255.255.255.0に設定している。ホスト部のビットがすべて1又はすべて0のものは,特別な意味をもつので使用できない。したがって,H社の各サブネットワークでは,最大[ b ]台のホストを接続することが可能である。
 
解答群
ア 4   イ 8   ウ 16   エ 254   オ 255   カ 256
 


解答:[ a ]ウ[ b ]エ

解説:

ごく基本的な穴埋め問題です。まず、H社で使用しているIPアドレスはクラスBとあります。クラスBは先頭が"10"ではじまって、先頭から16ビットがネットワーク部、残り16ビットがホスト部となります。クラスBのIPアドレスの範囲は、128.0.0.1〜191.254.255.254です。クラス分けは先頭の1バイト分だけをみればいいでしょう。このことから[ a ]に当てはまるのは、「ウ」の"16"です。

で、このクラスBをサブネッティングしています。サブネッティングしたあとのサブネットマスクが255.255.255.0となっています。つまり、ホスト部は8ビットであることがわかります。8ビットでは最大2^8-2=254個のIPアドレスが利用可能ですから、[ b ]には「エ」の"254"が当てはまります。-2をしている理由は、すべて"0"、すべて"1"は使えないからです。ホスト部がすべて"0"はネットワークを表すために使われます。また、ホスト部がすべて"1"はIPブロードキャストで使われています。

基本的なIPアドレスの知識とサブネットマスクとは何か?サブネッティングした場合に、最大何個のIPアドレスが利用可能となるかということを押さえておけば簡単に解答できる問題です。


 
設問2 Z君は,PC5の設定終了後に,支社内のネットワーク機器との接続を確認するために,PC5からPINGコマンドを実行した。そのときの入力コマンドと実行結果は,次のとおりである。
 
 入力1>PING 172.17.1.103
 結果1>Reply from 172.17.1.103
 入力2>PING 172.17.1.102
 結果2>Reply from 172.17.1.102
 
 この結果から確認できることを,解答群の中から二つ選べ。
 
解答群
ア PC5からハブ3までの接続が正常なこと
イ PC5からハブ4までの接続が正常なこと
ウ PC5からルータ2までの接続が正常なこと
エ PC5のIPアドレスの設定が正しいこと
オ PC5のデフォルトゲートウェイの設定が正しいこと
 
----------------------------------------------------------------------
解答:イ、エ

解説:

LANでのPINGを使った基本的な接続性の確認についての問題です。接続性を確認していくための原則は、

「自分に近いところから確認していく」

ことです。いきなり、遠くにあるコンピュータやルータなどとの接続性を確認して、もし応答が返ってこなければ間の経路のどこがダメなのか?ということがよくわからなくなります。このことはトラブルシュートを行う場合にもあてはまります。どこがダメなのか?という障害の切り分けを行うときにも、原則として自分に近いところから確認していくことになります。

で、設問ではまず172.17.1.103に対してPINGしています。これはPC5自身のアドレスですね。自分自身のアドレスに対してPINGして正常に応答が返ってくれば、IPアドレスの設定が正しいこととNIC(Network Interface Card)が正常に動作していると考えても大丈夫です。
そして、次に近いところというと「ハブ4」です。しかし、ハブにはIPアドレスがありませんのでハブに対してPINGすることができません。ハブがきちんと動作しているかどうかを確認するためには、そのハブにつながっているコンピュータに対してPINGを行います。確認したいハブにつながっている複数のコンピュータにPINGするとなおいいでしょう。

設問では、次に172.17.1.102つまりPC4に対してPINGをしています。きちんと応答が返ってきているので、ハブ4が正常に動作していることがわかります。もちろん、PC4が正常に動作していることも確認できます。



 
設問3 Z君はさらに,業務を行うために必要な,全社サーバヘの接続をPC5で確認することにした。支社内での確認と同様に,PC5からPINGコマンドを実行したところ,入力3の結果が“Time out”となったので,入力4を実行した。そのときの入力コマンドと実行結果は,次のとおりである。
 
 入力3>PING 172.17.2.51
 結果3>Time out
 入力4>PING 172.17.1.1
 結果4>Reply from 172.17.1.1
 
 この実行結果に関する次の記述中の[  ]に入れる適切な字句を,解答群の中から選べ。
 
 実行結果によって,PC5から[ c ],[ d ],[ e ]への接続は,それぞれ正常であることが分かる。
 次に,結果3の原因を明らかにするには,PC5から[ f ],ハブ2,ハブ1までのそれぞれの接続が正常であることを確認しなければならない。そのために,PC5から[ f ]まではコマンド[ g ]を,PC5からハブ2まではコマンド[ h ]を,PC5からハブ1までは,コマンド[ i ]を実行する。 コマンド[ g ]によって,[ f ]までの接続が確認できた場合は,専用線が正常に稼働していると判断できる。
 
c〜fに関する解答群
ア ハブ1   イ ハブ3   ウ ハブ4   エ ルータ1   オ ルータ2
 
g〜iに関する解答群
ア PING 172.17.1.101 イ PING 172.17.2.1
ウ PING 172.17.2.52 エ PING 172.17.2.101
 



解答:[ c ]ウ [ d ]イ [ e ]オ [ f ]エ[ g ]イ [ h ]エ [ i ]ウ

解説:
まず、172.17.2.51の「全社サーバ」に対してのPINGは失敗しています。次に172.17.1.1の「ルータ2」に対するPINGは成功しています。このことから、支社内の通信についてはとりあえず問題ないと考えられます。つまり、「PC5」から「ハブ4」と「ハブ3」を経由して「ルータ2」へ至る接続は問題ないです。ここで穴埋めを考えると、[ c ]が「ハブ4」つまり「ウ」です。[ d ]が「ハブ3」すなわち「イ」、[ e ]が「ルータ2」の「オ」です。(これは順不同なのかなぁ・・・?よくわかりませんが、順不同でも意味は通じるので大丈夫かもしれないです)

じゃ、問題がどこにあるのかというと考えられるのは、

1.本社−支社間の専用線
2.ルータ1
3.ハブ2
4.ハブ1
5.全社サーバ(がつながっているハブ1のポート/ケーブル)

になってきます。

1.と2.を確認しようと思えば、ルータ1にPINGしてみましょう。無事に応答が返ってくれば、1.本社−支社間の専用線と2.ルータ1は大丈夫でしょう。(ほんとはもっと細かく確認していくのですが、まぁいいでしょう)

次に3.を確認するためには、同じハブにつながっているPCに対してPINGしてみればいいです。つまり、「PC1」もしくは「PC2」に対してPINGします。同じように4.を確認するためには、同じハブにつながっているPCに対してPINGします。ここではファイアウォールがつながっているので、ファイアウォールに対してPINGします。

1.〜4.まで全部大丈夫だったのに、相変わらず全社サーバにつながらないという場合は、全社サーバがおかしいのかもしれません。それとも、全社サーバがつながっているハブ1のポートやケーブルの障害かもしれません。なんにせよ、障害が発生していると思われるところが、「全社サーバとハブ1の間に絞り込まれる」ことになります。
これが障害発生箇所の切り分けです。トラブルシュートを行うには、障害が発生している場所の切り分けをまず最初に行います。

以上を踏まえると、穴埋めは解答に書いてある通りになります。








(C) Copyright 2000-2001 Gene All Right Reserved